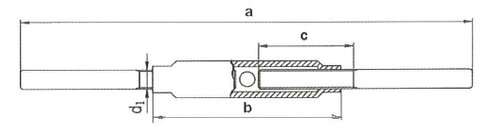
Обтегач със затворена рамка с шпилка / DIN 1478

Нетествани обтегачи с общо приложение

покажи повече

Part code:
  • Attribute icon

Нетествани обтегачи с общо приложение

  • Материал: Стомана
  • Покритие: Електропоцинковани
  • Предупреждение: Не са предназначени за повдигане на товари!