Главна връзка MX POWERTEX Extra Large

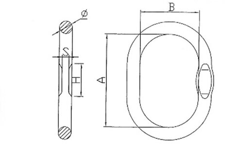
POWERTEX Master Link MX (Extra Large) е част от гамата компоненти за вериги за повдигане Powertex G10. Master Link е изключително голяма и може да се монтира на куки за кранове, изработени съгл/div>

покажи повече

Part code:
POWERTEX Master Link MX (Extra Large) е част от гамата компоненти за вериги за повдигане Powertex G10. Master Link е изключително голяма и може да се монтира на куки за кранове, изработени съгласно DIN15401 № 25 и DIN 15402 № 32. Master Link MX трябва да се използва като горен пръстен в сглобки на верижни сапани с един крак.

Предлага се за вериги от 10 mm до 20 mm и от WLL 4t до WLL 16t.
Всички модели са ковани.

Предимства на гамата Powertex G10:
  • 25 % по-висок капацитет в сравнение с традиционните компоненти от клас 8
  • Всички компоненти POWERTEX G10 са прахово боядисани в светещо червено
  • В гамата са включени многофункционални главни звена и компоненти, които позволяват бързо и икономично сглобяване на верижни сапани
  • Компонентите отговарят на изискванията на EN 1677, част 1/2/3/4 +25% WLL
  • Всеки кован компонент е тестван за откриване на пукнатини, а образците са тествани за пробно натоварване.
  • Всеки компонент се изпитва типово в завода и се оценява на умора до 20 000 цикъла при 1,5 пъти WLL
  • Пълна проследимост чрез партиден номер
  • Налични резервни части за подмяна
  • Всички компоненти не съдържат хром 6
  • Сертификат POWERTEX 2.2, приложен към всяка кутия с компоненти
  • Компонентите могат да се използват и с верига от клас 8 съгласно EN 818-2. В такъв случай верижният ремък трябва да бъде класифициран като клас 8 в съответствие с EN 818-4.
  • Маркировка: Съгласно релевантният стандарт, POWERTEX + модел (MX-10-10) + код за проследяване.
  • Работна температура: от -40°C до +200°C без намаляване на WLL
  • Покритие: Прахово боядисана в светещо червено
  • Стандарт: AS 3776
  • Стандарт: EN 1677-4
    (+25% WLL)
  • Забележка: За да се монтира C-10-10 към MX-10-10, трябва да се монтира един C-13-10 като преходно звено.
  • Коефицент на безопасност: 4:1
  • Клас : 10