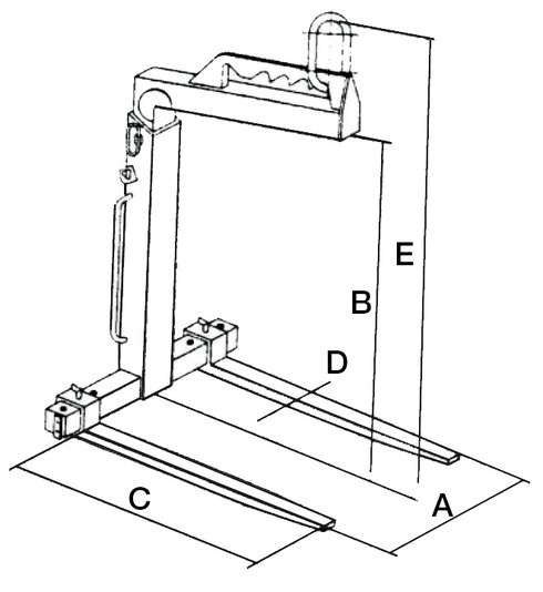
Crane forks with manual adjustment and adjustable forks

For handling of standard pallets from the long side. Crane fork's height and width of the forks can be adjusted. Manual balancing of the load.

Quantity of balancing adjustment slots on the neck bracket:

NOH1500SM: 1 + 6
NOH3000SM: 2 + 6

Show more

Part code:

For handling of standard pallets from the long side. Crane fork's height and width of the forks can be adjusted. Manual balancing of the load.

Quantity of balancing adjustment slots on the neck bracket:

NOH1500SM: 1 + 6
NOH3000SM: 2 + 6

  • Material: Beam and plate of high-strength structural steel
  • Marking: According to standard, CE-marked
  • Finish: Painted, yellow
  • Standard: EN 13155
  • Safety factor: 4:1
Download Document